혼합기 종류
혼합기는 시멘트, 물 또는 다른 재료를 계량하여 배치에 집어넣은 다음 이를 혼합하여 교반기로 보내는 장비로써 불량한 것을 사용하면 불량한 그라우팅 결과를 가져옵니다.
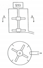
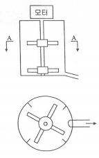
좋은 혼합기의 조건은 rpm 1500 이상의 고속 로터를 사용하여 15초 또는 1분 이내에 주입재료의 혼합을 끝낼 수 있어야 합니다.
이 고속 로터는 격렬한 와류와 고전단 작용을 하여 신속하게 완전한 혼합이 되도록 할 뿐 아니라 혼합이 다 된 주입재를 교반기로 보내는 데 사용됩니다.
고속 고전단 혼합작용은 일부 시멘트의 입자를 더욱 잘게 부수어 세립질을 더 많이 만드므로 주입재의 특성을 더욱 좋게 합니다.
와동드럼에 들어간 주입재료는 혼합시 물의 흐름에 따라 회전방으로 들어가는데, 와동드럼은 원심 분리기와 같은 역할을 함으로써 완전히 혼합되지 않은 주입재는 회전방 입구로 들어가게 하고 부배합의 주입재는 주변부로 밀려 나가도록 제작되었습니다.
고속 혼합기로 시멘트는 물론이고 모래, 벤토나이트, 플라이애시 등 모든 주입재료를 효과적으로 혼합시킬 수 있습니다.

혼합기를 회전시키는 동력은 15~25HP 정도입니다.
고속혼합기가 입자 간의 뭉침 현상을 방지하고 주입성에 절대적인 영향을 끼치므로 그라우팅공사 시 필수장비로 사용하고 있습니다.
시멘트는 미세립 입자로 되어 있어 물과 혼합되면 덩어리가 되려는 성질이 있어 입자의 표면이 흡수상태가 되는것이 방해받으며 공기가 입자에 달라붙어 있어 흡수를 더욱 지연시킵니다.
따라서 고속믹서를 사용하면 시멘트입자가 완전히 분리되므로 덩어리가 만들어지지 않고 입자의 표면이 수막으로 싸여 완전히 흡수될 수 있어서 시멘트 입자 간에 화학적으로 충분히 활성화되게 하여 강도와 내구성 중대에 필요한 수화작용이 충분히 일어납니다.
입자마다 분리되지 않는 덩어리 상태의 주입재는 미세한 절리에 침투되지 못하고, 균열의 좁아진 부분에 다다르면 그 부분에 막혀버려 더 이상의 주입재 침투를 방해하는 장애물의 역할을 하게 됩니다.
혼합시간은 3분 정도이며, 혼합이 끝나면 펌프는 교반기로 주입재를 보냅니다.
이런 종류의 혼합기는 고전단 능력이 부족하여 주입재가 완전히 분리되지 않거나 흡수상태가 되지 않는다는 것이 결점입니다.
시멘트, 플라이애시와 같은 미립질은 혼합이 가능하나 모래는 불가능 합니다.

앞에서 설명한 혼합기 외에 페달 또는 프로펠러 형태의 교반장치가 드럼 안에서 돌면서 주입재를 혼합하는 것이 있는데 이런 것은 rpm이 100~700 정도이며 전단력이 약하고 혼합에 소요되는 시간은 5분 정도입니다.
이런 정도의 회전속도는 빈배합의 그라우트 생산에는 다소 효과가 있으나 부배합의 그라우트 생산에는 대단히 부적절합니다.
즉 시멘트와 같은 미립질의 주입재료는 혼합시간을 길게 하더라도 알갱이가 완전히 분리되지 못하며 점성만 증가할 뿐입니다.
국내에서 흔히 쓰고 있는 100~400 rpm 정도의 이런 형태 혼합기는 엄밀히 분류하면 교반기에 가깝습니다.

시멘트를 혼합기통에 집어넣으면 바닥으로 떨어지므로 드럼의 밑바닥 가까이에 1조의 페달을 부착시키고 조금 윗부분에 또 1조를 설치한 대단히 간단한 구조입니다.
혼합기에서 혼합이 된 주입재를 주입펌프가 직접 흡입하여 주입공으로 보내는데 주입재가 주입배관을 순환하면서 조금은 더 혼합이 일어납니다.
각종 첨가제를 혼합하여 주입재의 물성을 개선시키고자 하나 저속도의 혼합기로는 주입재료가 완전 분리되지 않으므로 혼합기의 토출구에 스크린장치를 하여 덩어리를 걸러내어 공극의 입구에 주입재료가 막히는 현상을 최소화하고 있습니다.
물/시멘트 비가 0.8 정도의 부배합 주입재를 생산하기도 어려운 이런 혼합기 사용은 억제되어야 합니다.
그러나 약액 혼합기로는 적정하게 사용할 수 있습니다.
이처럼 양질의 주입재를 만들기 위해서는 교반기의 rpm이 대단히 중요하므로 시방서에 반드시 소요 rpm을 규정해야 하며, 현장에 투입된 교반기의 rpm을 측정해야 합니다.
아무리 초미립자 시멘트와 같은 좋은 재료를 사용하더라도 회전수가 낮으면 시멘트 입자의 분리현상을 기대할 수 없습니다.
혼합방법
배합비에 따라 드럼에 물을 먼저 넣은 후 최고의 속도에서 혼화제를 넣고 그다음에 시멘트를 넣습니다.
양회는 포 단위로 넣는것이 좋으며 반포 또는 1/3포 단위로 넣으면 정확한 배합비가 이루어지기 어렵습니다. 그 다음에 모래, 점토 등을 넣고 시방서에 정한 시간만큼 혼합합니다.
유량계를 사용하여 물을 정확히 계량치 않고 양동이로 대충 집어넣거나 스스로의 감으로 물을 넣어서는 안 됩니다.
유량계는 시작 눈금을 0부터 계측할 수 있는 것이 편리합니다.
주입재의 질 확인
가장 단단한 방법은 혼합기에서 만들어진 주입제를 얇은 접시에 25mm 두께 정도로 담아서 흔들지 말고 하루이틀정도 그대로 두어서 딱딱해지고 난 후 이를 잘라 봅니다.
절단한 면이 여러 가지 색깔을 보이는 띠 모양을 보이면 불량한 것이고 균일하면 양호하게 혼합된 것으로 볼 수 있습니다.
띠 모양은 완전히 분리되지 않은 덩어리 진 시멘트 입자가 침전된 것입니다.
rpm이 300 정도인 혼합기에서 채취하여 고결시킨 30mm 두께의 양회단일 주입제 시편을 만들어 보면 시멘트 입자가 세립질 모래 정도로 뭉쳐져 4mm 정도의 두께로 침전된 것을 육안으로 관찰할 수 있습니다.
고속혼합기를 사용하면 대개의 암반그라우팅에 있어서는 이러한 간이시험 자체가 불필요합니다.
결론적으로 초미립자시멘트와 같이 좋은 주입재료를 사용하고 경사천공, 적정주입압력적용, 적절한 물/시멘트비 변환, 블리딩배제 등의 철저한 품질관리를 해도 고속-고전단 믹서를 사용하지 않으면 양질의 시공효과는 구현하기 어렵습니다.
'공법정리' 카테고리의 다른 글
| 캡콘크리트란 무엇인지 심도있게 알아봅니다 (0) | 2022.12.27 |
|---|---|
| 주입배관에 대해 좀더 자세하게 알아봅시다 (0) | 2022.12.26 |
| 커튼그라우팅과 터널그라우팅 그리고... (0) | 2022.12.25 |
| 그라우팅 주입재료와 기본성질을 알아봅시다 (0) | 2022.12.25 |
| 암반층 그라우팅 재료선정과 주입비 (0) | 2022.12.24 |
댓글