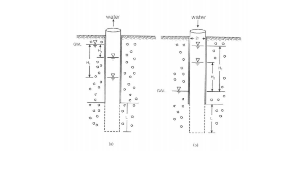
1. 변수위 투수시험
투수 시험하고자 하는 구간 윗부분까지 천공한 후 케이싱을 타입하고 시험 구간만큼 더 파냅니다.
첨부 : 변수위 투수시험 기록지(엑셀 수식으로 자동계산)
케이싱 내의 물을 퍼내거나 주수한 후의 시간별 수위 변화를 측정하여 투수계수를 산출하는데, 구경이 작은 케이싱을 사용하므로 공 내의 물을 퍼내기가 어려워 대개 케이싱 정부까지 주수한 후 수위변화를 측정합니다.

케이싱과 공벽사이의 공간은 그라우팅을 하여 이사이로 물이 들어가지 않게 하여야 합니다. 이 방법은 지층이 점토 또는 실트질점토로서 시험구간이 무너지지 않을 경우에 사용할 수 있습니다.

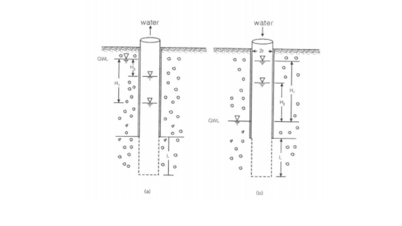
2. 공저법
사력층이나 실트층과 같이 무너지기 쉬운 지반에 대한 투수 시험방법으로써 케이싱 파이프를 공저까지 박고 케이싱 내에 일정 수위를 유지시키면서 주수하여 주수량이 정상류로 될때의 유량을 측정하여 투수계수를 구합니다.
공내를 깨끗하게 청소한 후 깨끗한 물을 유량계를 통해 중력흐름으로 주수합니다. 이때 공내 수위 상부에서 투수시험을 할 때는 안정수위가 잘 잡히지 않으나, 단위 시간당 일정한 주수량을 5분 정도 넣어보아 3~5cm 정도의 수위 오르내림이 있는 정도이면 만족할만한 시험조건이 된 것으로 볼 수 있습니다.
3. 관공주수시험법
조사 심도까지 시추하여 케이싱을 타입하고, 케이싱내의 물을 퍼내거나(지하수위가 높을 때) 주입(지하수위가 낮을 때) 한 후 수위가 원위치까지 회복되는 시간을 측정하여 투수계수를 산출합니다.

이 시험 방법은 케이싱 말단부의 토질 투수계수가 비교적 높을 때 사용합니다. 또한 수평상이 아니라 수직상의 투수계수가 우세한 방법입니다.
관공주수법 투수시험 기록지(엑셀수식으로 자동계산)
그러나 노후화된 휠댐의 중심 코어 시추 과정에서 굴진용수가 다량 누수되는 부위에서는 주수의 침투는 수평방향이 우세하며 이는 주입재의 이상적인 침투 방향과 같습니다.

4. 패커투수시험법
균열성 암반의 투수성을 평가하기 위하여 일반적으로 널리 이용되고 있는 현장투수시험 방법으로 시추공 내 일정한 길이의 주수구간에 압력수를 주입하고 주수량과 주수압의 관계를 이용하여 그 구간의 투수계수를 구하는 방법입니다.
투수계수는 주수량에 비례한다고 가정하여 동수구배가 1일 때의 평균유속으로 투수성을 표한한 것으로서 균열성 암반중의 물의 흐름과 같이 Darcy의 법칙이 적용되지 않는 조건하에서는 그 자체의 의미를 상실하지만 어느 지반의 투수도를 비교하고 분류하는 데는 충분한 의미를 갖습니다.

투수시험은 찬공이 끝난 후 특정한 구간의 상하 2개소에 파커를 설치하여 주수하는 더블파커 방식이 있고 천공을 하는 과정에서 필요한 구간을 정하여 시험하는 싱글파커 방식이 있습니다.
더블파커는 파커를 빼내지 않고 연속적으로 시험을 할 수 있어 능률적이지만 파커의 암반 밀착 불량으로 누수될 가능성이 커서 실제보다 큰 값의 투수계수가 산출될 수 있으므로 싱글파커의 방법이 더 좋습니다.
투수시험용 펌프는 주입용으로 쓰는 60L/min 정도의 펌프를 일반적으로 사용하고 있습니다. 하지만 만족할만한 투수계수를 구하려면 최소 200L/min의 능력을 갖춘 펌프이어야 합니다.
수량게의 용량도 여러가지 있는데 흡입-배출 구경이 25~40mm이고 최소 200L/min 이상을 측정할 수 있는 디지털 형태의 것이 비치되어야 합니다.
수량계 유입부쪽에 파이프 어댑터를 부착하면 난류 발생을 방지할 수 있는데 어댑터의 길이는 수량계 파이프 구경의 10배 정도가 되어야 합니다.
투수시험 최소시간은 대상구간의 상태에 따라 다르나 압력단계별로 안정이 이루어진 후 5분 간격으로 압력과 주수량이 3회 이상 같은 값이 될 때까지 하여야 합니다.
안정은 지하수위 위에서 시험할 때보다 지하수위 아래에서 더 빨리 이루어집니다.
댐 기초의 투수시험 시 적용압력은 이론적으로는 최대저수압과 동일하게 적용하나 지반 여건에 따라 다릅니다. 압력계는 눈금 단위가 0.1lgf/cm2 인 것을 사용하고 오일을 충전한 안전장치가 부착되어야 합니다.
lugeon test(루전테스트,루전시험)에 관해 더 알고싶으신분은 아래 링크의 글을 참고해주세요
5. 투수시험시 주의사항
현장시험과정에서 시간, 압력, 주수량 등을 정확하게 측정해야 함은 물론이고 케이싱과 시추공벽 사이로 물이 새어 나오는지 또는 주변에 누출되는 곳이 있는지 파커법을 쓸 때는 파커 상부의 공내 수위가 변하는지 세심하게 관찰해야 합니다.
이러한 현상은 투수계수값의 정확도를 떨어뜨리는 가장 큰 요인입니다.
수량계와 압력계는 나란히 배열되어야 하며, 일반적으로 수량계->압력계->주입공의 순으로 물을 보낼 때 파커 상단부에서 90도로 꺾이는 장치를 이용하나 이는 바람직하지 못하며 파이프나 호스의 구경도 불필요하게 변화를 주어서는 안 됩니다.
투수시험에 사용하는 수질은 깨끗하고 실트와 같은 미립질이 포함되지 않아야 합니다.
미립질이나 공기가 들어가면 비록 그 양이 적더라도 토사나 암반의 공극을 막으므로 시험결과에 오차를 일으킵니다.
따라서 침전조나 필터를 통과한 청수를 사용하는 노력이 필요하며, 주입배관을 통하여 물을 보낼때 호수나 파이프에 주입제가 붙어 있지 않도록 조심해야 합니다.
이외에도 주입수의 온도가 공내의 수온보다 높은 것을 넣어야 공내에서 기포발생이 억제되며 주수량이 줄어드는 현상을 막을 수 있습니다.
투수시험의 측정장비는 현장에서 사용하기에 예민한 부분이 있습니다.
이에 정밀한 기계적 오차를 방지하기 위해서 숙련된 감독이나 감시자가 상주해야 하며 시험하는 주체도 숙련된자가 시험을 하는 것이 맞습니다.
'공법정리' 카테고리의 다른 글
| 주입상태의 평가 (0) | 2022.12.22 |
|---|---|
| 천공방향에 따른 각도와 절리계를 알아본다 (0) | 2022.12.22 |
| 주입펌프의 종류와 패커 그리고 교반기 (0) | 2022.12.22 |
| 루전시험 방법과 적정압력을 알아보자 (0) | 2022.12.21 |
| 루전시험 결과와 그라우팅주입을 알아보자 (0) | 2022.12.21 |
댓글